


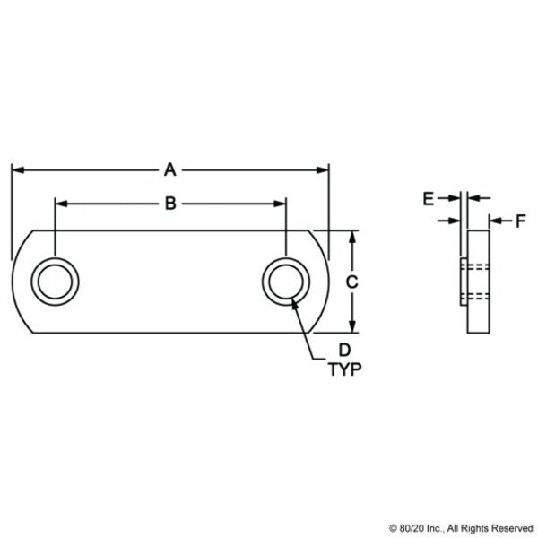
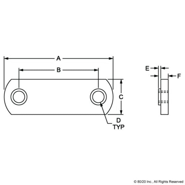
Dbl Econ, T-Nut 1/4-20, Thread, 15S
Web Price
$1.99
/ each
Product Details
United States
1
Viewed together

$22.36 / each
Web price

$26.24 / each
Web price

$27.11 / each
Web price

$41.49 / each
Web price

$40.86 / each
Web price