






Ceiling Shutter Motor Pack
Web Price
$151.24
/ each
Product Details
0.20/0.14
United States
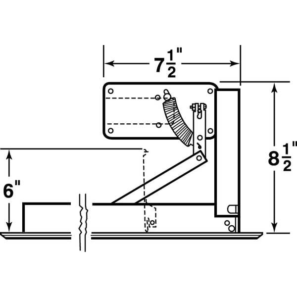
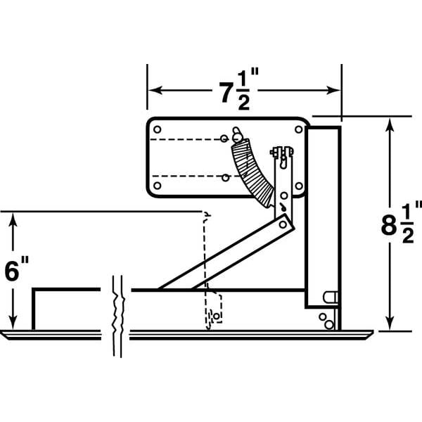
7 1/4 in
Ceiling Shutters
8 1/2 in
60
Installation Hardware
Horizontal
1
1
120/240
4 1/2 in
Viewed together

$22.36 / each
Web price

$26.24 / each
Web price

$27.11 / each
Web price

$41.49 / each
Web price

$40.86 / each
Web price