


Rectangular OEM Blower, 3130 RPM, 1 Phase, Direct
Web Price
$86.99
/ each
Product Details
CE and RoHS Compliance, cULus Recognized (E47479) for the Motor Only Not the Blower
77 cfm
64 cfm
40 cfm
14.6 cfm
77 cfm @ 0.000 in SP / 14.6 cfm @ 0.250 in SP
Corn Stoves, Electronic Equipment, Exhaust or Ventilate Cabinets, Fireplace Inserts, Office Machines, Pellet Stoves
Assembled
Sleeve
No
Transflow Blower
Shaded Pole
Rectangular
Auto
Transflow Blower
115V AC
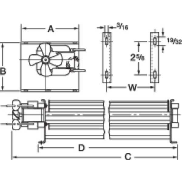
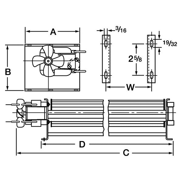
2 7/16 in
4 1/2 in
77
64
40
Multiple
0.5 A
4 3/16 in
3 1/2 in
7 15/16 in
6 5/16 in
10 7/8 in
5 3/4 in
Direct
Economical Air Delivery for General Heating, Cooling, Ventilating, or Component Cooling, Featuring Continuous-Duty Operation and Automatic Thermal Protection, Permanently Lubricated Sleeve Bearings on the Motor and Blower Housing Significantly Reduce Motor Hum Transmission into Equipment, the Extruded Aluminum, 1-Pc. Housing Keeps the Blower Wheel and Motor Properly Aligned, Reducing Vibration, the Heavy-Duty, Shaded-Pole Motor Features an Oversized Stack to Enhance Cooling and Product Life, and a Durable Metal Cooling-Fan Blade
Non-Flanged
Outlet
Exhaust
60 Hz
0.50
One Piece
7.9 in
3.5 in
Aluminum
4.1 in
60
Single-Inlet
13 in
C45 Carbon Steel Wheel & C45 Carbon Steel Housing
104 Degrees F
104 Degrees F
104 Degrees F
104 Degrees F
1/4 in wc
Continuous
Open
1/100 hp
Class B
B
3,130 RPM
Shaded Pole
Multiposition
All Position
115V AC
115V AC
1
4C743
1 in
Rectangular
Rectangular
1 in x 5 1/8 in
5 1/8 in
4 3/16 in
3 1/2 in
7 15/16 in
1
1
4C743
3130
CE Compliant, UL/cUL Listed, RoHS Compliant
Yes
2 3/8 in
2 3/8 in Dia. x 4.5 in W
C45 Carbon Steel
Forward Curve
4.5 in
No
Viewed together

$22.36 / each
Web price

$26.24 / each
Web price

$27.11 / each
Web price

$41.49 / each
Web price

$40.86 / each
Web price