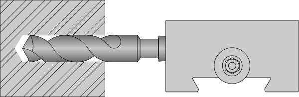
Tool Holder, Morse Taper, Series CA
Web Price
$242.49
/ each
Product Details
For Holding Morse Taper Tools In Drilling, Boring Or Reaming Operations
MT
United States
1.250
MT4
4.500
2.500
2.50
1.530
1.615
Fits Industry Standard Tool Posts
CA
CA Tool Post
Morse Taper
2-1/2 in
4-1/2 in
1
SDN40CA
Morse Taper
Morse Taper
Viewed together
Epoxy Activator and Finish Kit, Black, Semi-gloss, (2) 1 gal, 125 to 225 sq ft/gal, 9100 Series
$284.99 / each
Web price